La multi ani YO
Articole > Echipamente si constructii radio Litere mici Litere medii Litere mari     Comentati acest articol    Tipariti

Transceiver 20W HF Multiband BITX 160-10m

(© VU2ESE / G6LBQ, rev. 1.1)

Avîrvarei Andrei YO6TJJ

Cuprins articol

 

Introducere. 2

• funcții, detalii, explicații din schemă • 4

A.          Placa de bază – Main Board – sub-blocuri funcționale:. 7

B.          Placa filtrelor trece-bandă:. 9

C.          Placa filtrelor de ieșire LPF:. 13

D.          Placa generatorului DDS/VFO / scală digitală și sistem comutator BPF/LPF.. 14

E.         Placa modulului amplificator de radiofrecvență de putere - PA.. 19

F.         Placa comutatorului Tx/Rx și a blocului de alimentare. 21

• realizarea și detalii practice • 22

A.          Placa de bază – Main Board – sub-blocuri funcționale:. 22

B.          Placa filtrelor trece-bandă:. 30

C.          Placa filtrelor de ieșire LPF:. 32

D.          Placa generatorului DDS/VFO / scală digitală și sistem comutator BPF/LPF.. 34

• reglare și testare• 39

 

Fig. 1 Implementare YO6TJJ a transceiverului HF Multiband BITX, 20W, 160-10m

Transceiver 20W HF Multiband BITX 160-10m

(© VU2ESE / G6LBQ, rev. 1.1)

 

Autor: Avîrvarei Andrei | YO6TJJ | Sibiu, Sept. 2023 | www.rowaves.com/ro

 

Introducere

Construcție începută inițial în 2017 și finalizată în 2023, după mai mulți ani în care a stat efectiv pe rafturi, m-a provocat destul de mult din punct de vedere tehnic, mecanic, dar mai ales al reglajelor. Motivația finalizării construcției a fost dată mai ales de construcția unui alt transceiver BITX monoband pentru 20m, realizat atât de mine cât și de Sabin, YO6SRS, cu care m-am consultat.

Menționez încă de la început că abordarea a foat făcută modular, dar într-un timp îndelungat. Plăcile de circuit imprimat le-am procurat direct de la Sunil, VU3SUA, amateurradiokits.in (care are drept de comercializare a lor, de la Farhan, VU2ESE, autorul BITX-xului și creatorul său din care au derivat multe revizii, printre care și cea a lui Andy Hunter - G6LBQ, cea în cauză care va fi prezentată în acest articol. Voi încerca să fiu foarte succint deoarece acest transceiver a fost conceput ca și primă variantă prin anii 2010...2013, existând foarte multă informație pe internet despre el.

Mă voi concentra în articol pe:

-       aspecte practice ale implementării

-       particularități ale schemei și aspecte mai puțin cunoscute

-       dificultăți de implementare ale blocurilor

-       dificultăți de interfațare ale modulelor între ele

-       aspecte mecanice și reglaje finale

Nu mă voi concentra în articol pe reglarea și construcția fiecărui bloc în parte, aceste aspecte se găsesc deja în multele versiuni de asamblare și reglare ale manualelor de instrucțiuni. Trebuie totuși acordată o atenție deosebită selectării acestor manuale și informații, deoarece ele conțin multe erate. În primul rând este necesar să clarificați ce versiune de PCB doriți să construiți sau ați achiziționat.

Abordarea putea fi îmbunătățită utilizând tehnici moderne de generare a frecvenței oscilatorului local VFO și a celui de bătăi BFO (cu circuite de tip Si5351 etc.) dar eu doar am continuat construcția începută acum 6...7 ani, nedorind să fac prea multe îmbunătățiri. Țin să precizez că există foarte mult loc de îmbunătățire pe acest echipament.


Fig.2 Versiunea mea cu carcasă construită din plăci de circuit imprimat, cositorite și vopsite, pentru a menține un cost mai redus de construcție

 

• funcții, detalii, explicații din schemă •

 

Întreg sistemul este compus din mai multe blocuri funcționale evident fiind vorba de un echipament relativ complex cu sistem complet emisie-recepție:

a)    blocul de intrare al filtrelor BPF (‘band-pass filters’ sau ‘filtre trece-bandă’);

b)   blocul de filtre de ieșire LPF (‘low pass filters’ sau ‘filtre trece-jos’);

c)    placa de bază (main board/ exciter board – sau excitatorul SSB – single side band) constând în blocul amplificator de intrare de radio-frecvență, blocul mixerelor și al oscilatorului local, blocul AGC (automatic gain control), blocul AAF (amplificatorul de audiofrecvență) și blocul amplificatorulului de microfon;

d)   blocul oscilatorului de control DDS – VFO (variable frequency oscillator) care poate fi un oscilator clasic LC cu inductanțe comutabile pentru funcționarea în cele 9 benzi de radio. Pentru acest bloc poate fi folosit și un oscilator variabil cu sinteză digitală de tip DDS (direct digital synthesis);

e)    blocul etajului final de radiofrecvență – uzual un amplificator cu tranzistoare de RF de mică sau medie putere, echipat cu etaje de preamplificare consecutive;

f)     blocul sursei de alimentare și blocul de control și comutație între emisie și recepție (dacă este cazul).

Fig.3 Placa de bază a transceiverului, preluare din manualul de instrucțiuni ©VU3SUA

https://www.qsl.net/va3iul/Homebrew_RF_Circuit_Design_Ideas/Multiband_BITX_TRX_G6LBQ.gif

Fig.4 Schema electronică pentru placa de bază

De la amateurradiokits am procurat doar plăcile de la punctele a, b și c. Sunil VU3SUA comercializează doar plăcile de circuit imprimat aferente blocurilor a,b,c. Urmează să construim sau să procurăm din alte surse cablajele aferente celorlalte blocuri funcționale, pe parcursul articolului.

Vom trata pe rând sumar sub-blocurile de pe placa de bază:

A.  Placa de bază – Main Board – sub-blocuri funcționale:

 

a)    amplificatorul de intrare de radiofrecvență  - semnalul din antenă, după filtrarea prin blocul BPF (band-pass-filter) ajunge la Q1, primul tranzistor și singurul amplificator de radiofrecvență de pe lanțul de recepție, din front-end. De buna reglare și implementare a acestui bloc depinde și performanța transceiverului, în mare parte. Q1 este de tip 2SC2570 sau PN3563, MPSH10 sau orice tranzistor de RF cu Ft = 200MHz min. și un factor de zgomot cât mai mic (NF). Blocul nu impune probleme de implementare speciale, este un amplificator bidirecțional, complementarul său fiind sub-blocul cu Q10, care este amplificatorul de ieșire de radiofrecvență, ca etaj de atac pentru etajul final, identic cu a). Asamblarea celor 2 blocuri / amplificatoare bidirecționale se poate face simultan, cu testarea lor evidentă separat.

b)    primul amplificator de frecvență intermediară pentru Rx – este implementat cu un tranzistor de tip 2N3904/BC547 (toată construcția folosește tranzistoare de acest tip) și diode de tip 1N4148, pentru comutarea sub-blocurilor pe calea de Rx și Tx. Nu impune precauții speciale, se testează tot ca și blocul cu Q9, pe rând. Tensiunile continue în diferite puncte, măsurate de VU3SUA, se regăsesc în manualul original de instrucțiuni de asamblare [1]

c)    amplificatorul driver pentru VFO (DDS) – compus din Q3, 2N3904, nu necesită nici un fel de atenție specială, are rolul de a amplifica (dacă este cazul, semnalul de la DDS – AD9850/1 în cazul meu), pentru a polariza mixerul pasiv  ADE-1+

d)    primul etaj de amestec / mixer – realizat cu deja cunoscutul ADE-1+ (dar există versiuni de cablaj și cu SBL-1 sau chiar mixer cu diode clasic construit cu diode semiconductoare 1N418, are rolul de a amesteca semnalul din antenă (1.8...28MHz), cu cel al oscilatorului local (VFO/DDS), rezultând semnal modulat în amplitudine cu bandă laterală dublă (MA-BLD). Întreg sub-blocul este pasiv. Montarea acestui mixer se face pe un soclu DIL-6 care se găsește în comerț ca și soclu DIP pentru optocuploare THT de tip PC-817 etc.

e)    al 2-lea etaj amplificator de frecvență intermediară – construit cu ajutorul unui MC1350, amplificator de frecvență intermediară foarte cunoscut, precum și cu ajutorul unui transformator de frecvență intermediară de 10.7MHz. 

f)     primul etaj de amplificare de frecvență intermediară pe calea de emisie – realizat cu Q8 (2N3904, este similar cu blocul cu Q10), amplificator bidirecțional clasic

g)    al 2-lea etaj de amestec / mixer – realizat cu deja cunoscutul ADE-1+ (dar există versiuni de cablaj și cu SBL-1 sau chiar mixer cu diode clasic construit cu diode semiconductoare 1N418, are rolul de a amesteca semnalul din antenă (1.8...28MHz), cu cel al oscilatorului local (VFO/DDS), rezultând semnal modulat în amplitudine cu bandă laterală dublă (MA-BLD). Întreg sub-blocul este pasiv. Montarea acestui mixer se face pe un soclu DIL-6 care se găsește în comerț ca și soclu DIP pentru optocuploare THT de tip PC-817 etc.

h)     oscilatorul de purtătoare de tip BFO – realizat cu 3 x 2N3904, Q4/5/6, are rolul de inserție a oscilatorului de purtătoare pe lanțul de emisie-recepție și este un oscilator de tip Colpitts, dar și etaj buffer & comutator USB/LSB tranzistorizat. Frecvența acestuia este dată de tipul frecvenței intermediare alese pentru întreg transceiverul (de ex. 9, 10, 11MHz). Întreg etajul se alimentează la 9V stabilizați, cu un mic regulator de tip 78L09(100mAdc).

i)     amplificatorul de audiofrecvență – realizat cu un circuit integrat de tip LM380 (în această versiune de BITX) și Q7-2N3904, ca preamplificator. Nu necesită precauții speciale dar recomand folosirea unui IC original și verificat. Este destul de greu de procurat LM380 în zilele noastre dar nu imposibil. Cu mici artificii, se poate înlocui pe placă cu LM386, TDA2822M etc. sau se poate realiza un amplificator audio extern plăcii de bază.

j)     blocul AGC & S-Meter – realizat cu un amplificator operațional quad LM324, are 3 etaje și asigură funcționarea blocului de control automat al câștigului în mod fast/slow precum și al S-metrului (dacă se montează). Personal am montat și S-metrul pe panoul frontal.

k)    preamplificatorul de microfon – realizat cu circuit integrat de tip NE5534, din care se poate seta câștigul etajului de preamplificare, cu ajutorul unui rezistor semireglabil de 50kΩ. Este implementat pentru microfoane electret (deci acestea necesită polarizare, prin rezistorul de 10kΩ montat deja).

l)     driverul de RF – preamplificator – folosit pentru atacul” amplificatorului final de RF, realizat cu 1 X 2N3904 precum și un inel de ferită de mici dimensiuni, material 43, de tip FT37-43. Pe lângă blocul cu filter BPF, cel LPF, transformatorul T1, acest T2 este al 2-lea transformator de pe placa de bază pe care va trebui să îl realizați manul și nu este dificil deloc.

m)  blocul filtrului de cristale  - realizat cu 4 x cristale de quartz de 10.000MHz, atent alese (detalii la realizarea practică, mai jos), precum și câteva capacitoare ceramice. Un bloc care poate necesita ecranare (recomandat), precum și atenție deosebită, de modul de implementare va depinde performanța globală a transceiverului, precum și de alte blocuri.

Întreaga comutare și selecție a blocurilor funcționale pe cele 2 căi (emisie / recepție) se face cu diode rapide semiconductoare de tip 1N4148. Se pot încerca și alte tipuri funcționale, personal nu am încercat.

 

B.  Placa filtrelor trece-bandă:

 

Întreg blocul este compus din 9 seturi de filtre comutabile realizate cu inductanțe de 10x10mm de tip TOKO (eu am achiziționat întreg setul de la Spectrum Communications UK, acum câțiva ani buni) [2]. Toate inductanțele sunt deja bobinate, așa au sosit în colet. Configurația filtrelor este Butterworth de ordin 3 și folosește inductanțe reglabile, filtrele au un răspuns destul de bun în banda de trecere și o performanță decentă. Preferabil se ajustează pe un analizor de spectru sau le nevoie, pe maximul de semnal, pe o antenă bine reglată.

Specificațiile filtrelor, pe benzi, după cum urmează:

a)    160m:

o   frecv. centrală: 1.9MHz

o   banda de trecere BW: 350KHz (aprox. 247KHz @ -1dB BW)

o   inductanța necesară: 9µH (28 spire), Q=70 / AL = 11

o   reactanța inductivă @ 1.9MHz = 107Ω

o   capacitorul rezonant pentru nod = 680pF

o   capacitorul de cuplaj între circuitele rezonante ale filtrului: 100pF

o   nr.spire PRI :28 / SEC : 8, CuEm 0.25mm

 

b)    80m:

o   frecv. centrală: 3.65MHz

o   banda de trecere BW: 450KHz (aprox. 318KHz @ -1dB BW)

o   inductanța necesară: 5.5µH (20 spire), Q=85 / AL = 11

o   reactanța inductivă @ 3.65MHz = 121Ω

o   capacitorul rezonant pentru nod = 330pF

o   capacitorul de cuplaj între circuitele rezonante ale filtrului: 33pF

o   nr.spire PRI :20 / SEC : 4, CuEm 0.25mm

 

c)    40m:

o   frecv. centrală: 7.1MHz

o   banda de trecere BW: 350KHz (aprox. 247KHz @ -1dB BW)

o   inductanța necesară: 2.6µH (14 spire), Q=80 / AL = 11

o   reactanța inductivă @ 7.1MHz = 115Ω

o   capacitorul rezonant pentru nod = 180pF

o   capacitorul de cuplaj între circuitele rezonante ale filtrului: 6.8pF

o   nr.spire PRI: 14 / SEC : 2, CuEm 0.25mm

 

d)    30m:

o   frecv. centrală: 10.125MHz

o   banda de trecere BW: 300KHz (aprox. 212KHz @ -1dB BW)

o   inductanța necesară: 2.6µH (14 spire), Q=85 / AL = 11

o   reactanța inductivă @ 10.125MHz = 165Ω

o   capacitorul rezonant pentru nod = 100pF

o   capacitorul de cuplaj între circuitele rezonante ale filtrului: 1.5pF

o   nr.spire PRI: 14 / SEC : 1, CuEm 0.25mm

 

e)    20m:

o   frecv. centrală: 14.150MHz

o   banda de trecere BW: 900KHz (aprox. 636KHz @ -1dB BW)

o   inductanța necesară: 1.2µH (8 spire), Q=85 / AL = 15

o   reactanța inductivă @ 14.15MHz = 106Ω

o   capacitorul rezonant pentru nod = 100pF

o   capacitorul de cuplaj între circuitele rezonante ale filtrului: 4.7pF

o   nr.spire PRI: 14 / SEC : 2, CuEm 0.25mm

 

f)     17m:

o   frecv. centrală: 18.084MHz

o   banda de trecere BW: 700KHz (aprox. 495KHz @ -1dB BW)

o   inductanța necesară: 1.2µH (8 spire), Q=85 / AL = 15

o   reactanța inductivă @ 18.084MHz = 128Ω

o   capacitorul rezonant pentru nod = 68pF

o   capacitorul de cuplaj între circuitele rezonante ale filtrului: 1.8pF

o   nr.spire PRI: 14 / SEC : 1, CuEm 0.25mm

 

 

g)    15m:

o   frecv. centrală: 21.225MHz

o   banda de trecere BW: 1000KHz (aprox. 707KHz @ -1dB BW)

o   inductanța necesară: 1.2µH (8 spire), Q=85 / AL = 15

o   reactanța inductivă @ 21.225MHz = 160Ω

o   capacitorul rezonant pentru nod = 47pF

o   capacitorul de cuplaj între circuitele rezonante ale filtrului: 1.5pF

o   nr.spire PRI: 8 / SEC : 1, CuEm 0.25mm

 

h)    12m:

o   frecv. centrală: 24.940MHz

o   banda de trecere BW: 1000KHz (aprox. 707KHz @ -1dB BW)

o   inductanța necesară: 1.2µH (8 spire), Q=85 / AL = 15

o   reactanța inductivă @ 24.940MHz = 188Ω

o   capacitorul rezonant pentru nod = 33pF

o   capacitorul de cuplaj între circuitele rezonante ale filtrului: 1pF

o   nr.spire PRI: 8 / SEC : 1, CuEm 0.25mm

 

i)     10m:

o   frecv. centrală: 28.850MHz

o   banda de trecere BW: 3500KHz (aprox. 2474KHz @ -1dB BW)

o   inductanța necesară: 1.2µH (8 spire), Q=85 / AL = 15

o   reactanța inductivă @ 28.85MHz = 217Ω

o   capacitorul rezonant pentru nod = 22pF

o   capacitorul de cuplaj între circuitele rezonante ale filtrului: 2.2pF

o   nr.spire PRI: 8 / SEC : 2, CuEm 0.25mm

 

Trebuie să aveți în vedere că unele inductanțe gata construite și chiar și cele de la Spectrum Communications au capacitoare montate în paralel, în corpul inductanței. Acești capacitori trebuie demontați cu grijă dacă nu sunt necesari, mai ales în aplicația noastră.

Diodele de comutație din schemă, 1N4148, pot înlocuite cu succes cu BA243/244, cele din urmă având un curent direct de polarizare de aprox. 10mAdc față de 20mAdc la 1N4148. Personal am folosit BA243 în acest modul. Comutarea întregului bloc este asigurată de un modul DDS complet cu generator de semnal, comutator BPF si LPF și scală digitală cu toate controalele necesare unui TRx cu performanțe decente.

Fig.5 Schema electronică a filtrelor BPF, cu modul de comutare © VU2ESE/VU3SUA/G6LBQ

C.  Placa filtrelor de ieșire LPF:

 

Este o placă separată de dimensiuni mai mari care asigură performanța la emisie mai ales a echipamentului, dar poate fi folosită și la recepție, depinzând mult de modul de comutare ales. Este un design clasic de filtru de ordin 5, acoperind cele 9 benzi HF de radioamatori, la fel ca și BPF-ul despre care am discutat. Este compus din 6 filtre separate care acoperă cele 9 benzi, un filtru acoperind de obicei 2 benzi învecinate de lucru (ex. 40/30m, 20/17m, 15/12m).

Fig.6 Schema electronică a filtrelor LPF, împreună cu releele de comutare

 

Arhitectura blocului de filtre LPF este universală, poate fi folosită cu succes și la alte transceivere, sistemul de comutare fiind foarte simplu. Modul cum a fost proiectat acest modul de circuit imprimat nu este din cele mai optimizate, dar se poate folosit cu succes. Am adus câteva mici modificări ce vor fi descrise în capitolele următoare, la implementarea practică.

D.  Placa generatorului DDS/VFO / scală digitală și sistem comutator BPF/LPF

Acest sistem de module este extern echipamentului, autorii lăsând la libere alegere a constructorului implementarea sa în cadrul transceiverului. Eu am optat (la acea vreme) pentru un sistem DDS cu microcontroller Microchip cu 2 x PIC16F628 și AD9850/51 de la Analog Devices, cu clock la 125MHz, prin oscilator VCXO extern. Acest DDS a fost testat cu succes în mai multe revizii de VU3CNS și mulți radioamtori, la nivel mondial. Revizia aleasă de mine este v4.0.

Dintre funcțiile de control menționez (se regăsesc într-o interfață simplistă cu butoane, pe panoul frontal al transceiverului, după cum reiese și din Fig.1 – prima pagină):

-       domeniu aproximativ: 1Hz ...70MHz (cu DDS AD9851 la cu clock / prescaler la 180MHz)

-       pași de control de 1/10/100Hz, 1/10/100KHz, 1/10MHz cu encoder digital

-       afișare pe display LCD 2 X 16CH

-       opțional tastatură numerica 4 x 3CH (pentru introducerea frecvenței directe de la tastatură)

-       offset IF/CW/SSB cu opțiuni, atunci când se folosește pentru TRx.RX

-       calibrare SW pentru diverși parametri

-       2 x VFO și mod SPLIT de lucru

-       19 memorii ( freq. + mod de lucru, USB/LSB)

-       setările stocate sunt permanente în EEPROM dar ușerul le poate selecta în orice moment

-       4 ieșiri de selecție de bandă și de mod de lucru

-       mod RIT

Nu voi aborda decât schemele de principiu ale DDS-ului, întreaga documentație pentru acest proiect regăsindu-se la referința [3], realizată de C.V. Niras, VU3CNS, încă din 2004. Pentru acea perioadă și pentru anii următori, a fost o abordare relativ revoluționară în materie de DDS-uri, multe variante comerciale având ca punct de plecare acest design. La link-ul respectiv, în arhiva de pe site, se regăsesc atât schemele electronice, explicații ale  părții digitale de control, meniuri și funcție, calibrarea, interfațarea etc. Vă încurajez să parcurgeți documentația, dacă vă deciceți să mergeți pe această variant de DDS.

 

Fig.7 Schema principală de control & afișare UI / cu PIC16F628 © VU3CNS

În versiunea mea, nu am implementat tastatura 4 x 3, din motive de lipsă de spațiu pe panoul frontal și ergonomie. După cum se observă, comutarea PTT este izolată galvanic de restul schemei, prin optocuplorul U2(4N35). Ca principale interfețe pentru microcontrollerul din acest modul, menționez comunicația serială cu alt microcontroller (selector de benzi etc.), cu circuitul DDS AD9850/1 precum și comunicarea paralelă cu LCD-ul,  sau cu encoderul de navigare prin meniu, precum și cu tastatura matriceală 4x3. Un număr relativ mare de diode 1N4148 asigură comutarea corectă și selecția perifericului corect în funcție de dorințele userului. La o programare corectă, acest modul nu impune precauții speciale.

Modulul cu microcontrollerul PIC16F628 nr. 2 asigură selecția filtrelor BPF precum și unele moduri de lucru, după cum se observă din Fig.8 de mai jos.

Fig.8 Schema principală de selecție BPF și moduri de lucru ale TRx-ului © VU3CNS

 

Cel mai important modul din blocul DDS este evident blocul generator de semnal cu integratul AD9850 sau AD9851. Funcționarea lui necesită atenție deosebită, semnalul generat de sinteza digitală este ulterior amplificat cu un amplificator de bandă largă cu tranzistori de medie putere cunoscuți (2N3866/2N4427/2N2219/2N3553). Eu l-am implementat cu varianta originală cu 2N3866. Aș recomanda să verificați factorul de amplificare pentru acest tranzistor și nu numai, fiind componente deja depășite NOS, acest model va fi folosit și mai târziu în etajul final.

 

Fig.9 Schema principală RF pentru modulul de sinteză digitală, cu AD9851

 

Acest modul și implementarea lui necesită atenție deosebită la partea de PCB, precum și decuplări și verificări suplimentare. Consumul său este destul de mare, nu se pretează pentru echipamente portabile. Un filtru LPF asigură obținerea unui semnal sinusoidal pentru toată banda utilă 2....30MHz. O stabilizare locală la 5V decuplată și filtrată corespunzător ar trebui să asigure un zgomot de fază cât mai mic pentru ieșirea DDS cât și suprimarea riplului posibil pe partea de alimentare etc. Acest DDS comunică cu microcontrollerul de la Fig.7.

 

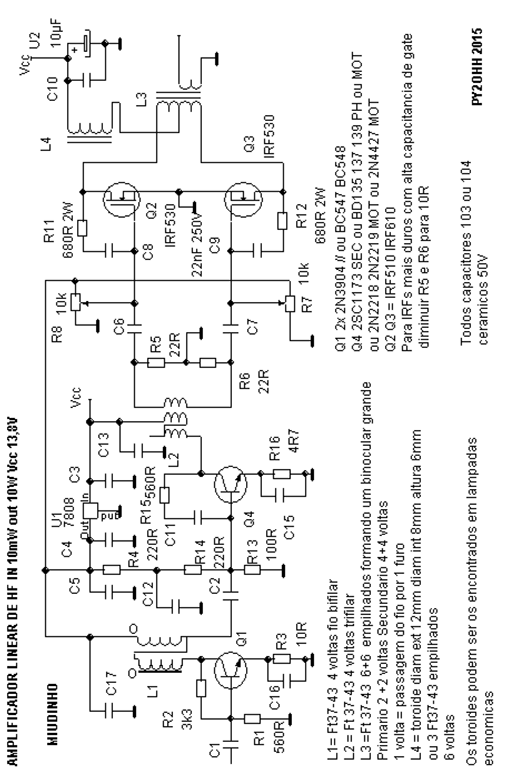
E.  Placa modulului amplificator de radiofrecvență de putere - PA

 

Acest modul mi-a creat cele mai multe provocări din punct de vedere constructiv și am petrecut mai mult de 12h încercând să îl pin la punct și să îl fac să funcționeze decent, încercând să îl liniarizez pe cât posibil pe toate benzile, obținând 20...22W în benzile inferioare si 15...10W în cele inferioare.

Designul original îi aparține lui PY2OHH, Miguel, care a experimentat cu el în montaj Manhattan, așa cum l-am abordat și eu.

Caracteristici:

-       câștig de aprox. 30...33dBm, în funcție de benzi

-       tensiune de alimentare și consum: 13.8Vdc / 3.5Adc

-       nivel intrare min. 10mW toate benzile

-       pre-driver: BC547/2N3904 sau 2X2N3904 în paralel, depinzând de nivelul de intrare din transceiver

-       driver: 2N3866/2N2219/2N4427 min. 110..130hFE necesar pentru acest etaj

-       PA MOSFETS: 2 X IRF510 / 610

-       întreg design-ul se realizează pe ferite inelare și binoculare de la FairRite, după cum voi descrie mai jos la capitolul următor

 

Din punct de vedere funcțional primul etaj preamplificator cu Q1 din schema de mai jos, Fig. 10, asigură un câștig de aprox. 10dB toate benzile, regimul de funcționare clasă A, cu un consum măsurat de 50mAdc.

După precondițonare, semnalul amplificat este preluat de Q4 al cărui câștig în clasă A este de aprox. 15dB tot domeniul 2....30MHz, cu un consum de aprox, 150mAdc. Am testat mai multe variante, voi detalia în capitolul următor, cea optimă este 2N3866 cu hFE 135 min.

Fig.10 Schema electronică a etajului final de RF ales © PY2OHH, Miguel

 

Am adus mai multe mici schimbări și îmbunătățiri acestei scheme, pentru a obține o amplificare decentă pentru benzile superioare mai ales. După cum se poate observa și din schemă, polarizarea tranzistorilor MOSFETI finali se poate face independent, din R7/R8. Transformatorul L3 a fost nevoie să fie modificat, atât ca număr de spire cât și ca miezuri utilizate.

 

F.   Placa comutatorului Tx/Rx și a blocului de alimentare

 

Este un bloc simplu de comutare emisie-recepție construit cu relee, acționat de tensiunea continuă  uzual de 13.8Vdc de la PTT. Totodată, el asigură și comutarea antenei de pe emisie pe recepție, respectând calea corespunzătoare, pentru fiecare caz în parte.

Tot în cadrul acestui circuit se poate integra și un sistem de detecție al nivelului RF de intrare de la PA, denumit VOX-RF.

Fig.11 Model foarte simplificat al comutării emisie – recepție [4]

 

Implementarea unui asemenea circuit nu implică probleme speciale, sistemul se bazează pe acționarea unor relee și asigurarea tensiunilor de alimentare pentru blocurile funcționale ale transceiverului. Unele module sunt alimentate permanent (DDS/VFO etc.) iar altele doar în timpul emisiei  (PA amplifier )sau doar în timpul recepției (AAF etc.)

 

 

• realizarea și detalii practice •

 

Înainte de realizarea practică, dacă v-ați familiarizat cu blocurile funcționale și cu complexitatea schemei, este recomandat să concepeți lista de materiale BOM (Bill of Materials).

Prezentarea unor aspecte din realizarea practică se face tot pe module, după cum urmează:

A.  Placa de bază – Main Board – sub-blocuri funcționale:

 

a)    amplificatorul de intrare de radiofrecvență

După instalarea tuturor componentelor electronice din acest bloc se verifică tensiunile de polarizare corecte. Acestea se regăsesc în manualul de instrucțiuni de asamblare, detaliate și nu vor fi reluate în acest articol.

Particularități și aspecte ale realizării:

-       se poate înlocui Q1 cu MPSH10 sau chiar PN3563, dar atenție la ordinea corectă a terminalelor, confuziile pot provoca defectarea iremediabilă a tranzistorului

-       se poate încerca introducerea unui semnal de nivel mic pentru a testa amplificatorul, de la generatorul de semnal, în scopul determinării câștigului etajului

 

b)    primul amplificator de frecvență intermediară pentru Rx

După instalarea tuturor componentelor electronice din acest bloc se verifică tensiunile de polarizare corecte. Acestea se regăsesc în manualul de instrucțiuni de asamblare, detaliate și nu vor fi reluate în acest articol.

Particularități și aspecte ale realizării:

-       tensiunile de polarizare ale acestor 2 module bidirecționale de amplificare sunt foarte apropiate ca valori, se poate deduce asta în urma măsurătorilor

-       se poate încerca introducerea unui semnal de nivel mic pentru a testa amplificatoarele, de la generatorul de semnal, în scopul determinării câștigului etajului și a amplificării corecte și liniare

 

 

 

c)    amplificatorul driver pentru VFO (DDS)

După instalarea tuturor componentelor electronice din acest bloc se verifică tensiunile de polarizare corecte. Acestea se regăsesc în manualul de instrucțiuni de asamblare, detaliate și nu vor fi reluate în acest articol.

Particularități și aspecte ale realizării:

-       atenție la montarea corectă a tranzistorului Q3 – 2N3904

 

d)    primul etaj de amestec / mixer

Particularități și aspecte ale realizării acestui etaj:

-       atenție sporită la montarea corectă mixerului ADE-1+, ea se face pe un socul DIL-6 după imaginea de mai jos, respectând poziția pinului 1 (consultați foaia de catalog a mixerului, dacă nu vă descurcați)

Fig. 12 Amplasarea corectă a mixerelor pe soclu THT improvizat

De asemenea, lipirea mixerului trebuie să se realizeze într-un timp cât mai scurt, aplicarea excesivă a căldurii va deteriora soclul sau chiar însuși mixerul.

e)    al 2-lea etaj amplificator de frecvență intermediară

După instalarea tuturor componentelor electronice din acest bloc se verifică tensiunile de polarizare corecte. Acestea se regăsesc în manualul de instrucțiuni de asamblare, detaliate și nu vor fi reluate în acest articol.

Particularități și aspecte ale realizării:

-       atenție la montarea corectă a IC-ului MC1350P, în soclul său. Folosiți un soclu de calitate, DIL-8, preferabil Augat® care să asigure un contact mecanic și electric cât mai bun.

-       trimmerul de 6....70pF în paralel cu T1 s-ar putea sau nu să aibă influență în circuit, se verifică acest lucru

-       există un trimmer de acord de aprox. 60...70pF, în paralel cu înfășurarea primară a acestui transformator, se reglează pentru maximul de semnal pe calea de recepție. Se poate înlocui acest transformator cu 1 x T37-2, 26 spire PRI și 2 spire SEC, CuEm 0.3...0.4mm diam., pentru ambele înfășurări.

-      

-       Fig. 13 Model înlocuitor pentru transformatorul F.I. T1

-        

 

f)     primul etaj de amplificare de frecvență intermediară pe calea de emisie

După instalarea tuturor componentelor electronice din acest bloc se verifică tensiunile de polarizare corecte. Acestea se regăsesc în manualul de instrucțiuni de asamblare, detaliate și nu vor fi reluate în acest articol.

Particularități și aspecte ale realizării:

-       tensiunile de polarizare ale acestui modul bidirecțional de amplificare sunt foarte apropiate ca valori, se poate deduce asta în urma măsurătorilor

-       se poate încerca introducerea unui semnal de nivel mic pentru a testa amplificatoarele, de la generatorul de semnal, în scopul determinării câștigului etajului și a amplificării corecte și liniare

 

g)    al 2-lea etaj de amestec / mixer

Particularități și aspecte ale realizării acestui etaj:

-       atenție sporită la montarea corectă mixerului ADE-1+, ea se face pe un socul DIL-6 după imaginea de mai jos, respectând poziția pinului 1 (consultați foaia de catalog a mixerului, dacă nu vă descurcați)

Fig. 14 Amplasarea corectă a mixerului 2,  pe soclu THT improvizat

De asemenea, lipirea mixerului trebuie să se realizeze într-un timp cât mai scurt, aplicarea excesivă a căldurii va deteriora soclul sau chiar însuși mixerul.

h)     oscilatorul de purtătoare de tip BFO

După instalarea tuturor componentelor electronice din acest bloc se verifică tensiunile de polarizare corecte. Acestea se regăsesc în manualul de instrucțiuni de asamblare, detaliate și nu vor fi reluate în acest articol.

Particularități și aspecte ale realizării:

-       atenție sporită la amplasarea corectă a lui Q4-2N3904, a fost strecurată o eroare de proiectare PCB în design, se inversează baza cu emitorul, conform figurii de mai jos

-       există capacitori trimmer de reglaj USB/LSB, aceștia pot fi insuficienți, se pot introduce în circuit în găuri special practicate pe PCB, capacitori ficși care să crească valoarea capacităților totale

Fig. 15  Artificiu necesar pentru corecția erorii de proiectare la Q4

 

i)     amplificatorul de audiofrecvență

După instalarea tuturor componentelor electronice din acest bloc se verifică tensiunile de polarizare corecte. Acestea se regăsesc în manualul de instrucțiuni de asamblare, detaliate și nu vor fi reluate în acest articol.

Particularități și aspecte ale realizării:

-       există versiuni cu 14 pini pentru LM380, autorul  a folosit versiunea DIL-8 pentru acest circuit integrat

-       atenție la montarea corectă în soclu a acestui circuit integrat (LM380)

 

j)     blocul AGC & S – metrul  

După instalarea tuturor componentelor electronice din acest bloc se verifică tensiunile de polarizare corecte. Acestea se regăsesc în manualul de instrucțiuni de asamblare, detaliate și nu vor fi reluate în acest articol.

Particularități și aspecte ale realizării:

-       este un modul ceva mai mare ca dimensiuni dar de complexitate medie

-       atenție la montarea corectă în soclu a LM324, este de preferat să se folosească socluri de calitate, de tip Augat®, lucru mențioant și mai sus, pentru toate circuitele integrate din transceiver

 

Fig. 16  Vedere detaliată a modului AGC/S-metru

 

k)    preamplificatorul de microfon

După instalarea tuturor componentelor electronice din acest bloc se verifică tensiunile de polarizare corecte. Acestea se regăsesc în manualul de instrucțiuni de asamblare, detaliate și nu vor fi reluate în acest articol.

Particularități și aspecte ale realizării:

-       atenție la montarea corectă în soclu a NE5534, este de preferat să se folosească socluri de calitate, de tip Augat®, lucru mențioant și mai sus, pentru toate circuitele integrate din transceiver

-       dacă utilizați microfoane dinamice sau de alt tip, rezistorul de 10kΩ de la “firul cald” al microfonului necesită a fi îndepărtat, el este necesar doar pentru polarizarea corectă a microfoanelor de tip electret/condensator

-       se poate testa acest etaj de amplificare conectând microfonul și monitorizând ieșirea de la pin.6 cu un osciloscop

 

 

 

 

l)     driverul de RF – preamplificator

După instalarea tuturor componentelor electronice din acest bloc se verifică tensiunile de polarizare corecte. Acestea se regăsesc în manualul de instrucțiuni de asamblare, detaliate și nu vor fi reluate în acest articol.

Particularități și aspecte ale realizării:

-       realizarea T2 se face utilizând un inel de ferită de tip FT37-43 pe care se bobinează 8 spire bifilar, folosind CuEm 0.25...0.3mm diam.

-       încercați să distribuiți în mod uniform spirele pe inelul de ferită, conform Fig.17

 

Fig. 17  Vedere detaliată a transformatorului din driverul RF de mică putere

 

m)  blocul filtrului de cristale

Se poate opta fie pentru o versiune comercială a filtrului de cristale instalat în BITX multiband, fie penru construcția sa în regim de amator. Amplasarea pe PCB suportă ambele opțiuni de mai sus. Eu am ales varianta construcției filtrului de cristale, în regim home made, din dorința de a învăța și ușurința realizării.

Capacitorii de 18pF figurați în manualul cu instrucțiunile de asamblare sunt opționali, dacă se alege versiunea comercială a filtrului. Pentru construcția acestui filtru, prin metoda cea mai simplă, avem nevoie de următoarele resurse:

-       un lot de 20...30 de cristale de quartz (HC49 sau HC49S), de valoare 10.000MHz

-       un tester de cristale de quartz sau un oscilator capabil să funcționeze cu cristale de 10MHz min.

-       osciloscop, calculator etc.

Pași de execuție:

a)    se începe prin a măsura cât mai precis toate cristalele de quartz din lotul avut la dispoziție

b)    după selectarea unui nr. de 4 x cristale de quartz cu frecvențele de oscilație cele mai apropiate (atenție, vorbim de kHz sau sute de Hz), se calculează matematic valoarea medie a celor 4 unități de quartz

nr. cristal

valoare Fosc.

selectat? DA/NU

Q1

9 . 997 . 292

 

Q2

9 . 997 . 395

 

Q3

9 . 997 . 383

 

Q4

10 . 014. 784

 

Q5

10 . 001. 325

DA

Q6

10 . 001. 245

 

Q7

10 . 001. 258

 

Q8

10 . 001. 052

 

Q9

10 . 001. 274

 

Q10

10 . 001. 336

DA

Q11

10 . 001. 326

DA

Q12

10 . 001. 419

 

Q13

10 . 001. 540

 

Q14

10 . 001. 263

 

Q15

10 . 001. 455

 

Q16

10 . 001. 440

 

Q17

10 . 001. 535

 

Q18

10 . 001. 333

DA

Q19

10 . 001. 504

 

Q20

10 . 001. 432

 

 

c)    valoarea medie pentru USB:

 

d)    valoarea medie pentru LSB:

 

 

Se pot planta cele 4 cristale de quartz după modelul din Fig. 18 de mai jos. Este necesar să se conecteze cele 4 cristale între ele cu un conductor care apoi se conectează la cel mai apropiat punct de masă.  În acest fel se previne apariția unor fenomene de tip curenți electromagnetici autoinduși în carcasa metalică a cristalelor, rezonanțe mecanice și electrice parazite etc. Recomandat este să se ecraneze întreg filtrul de cristale. Personal am construit o mică carcasă ecranată în jurul acestuia.

Fig. 18  Vedere detaliată a filtrului de cristale, înainte de ecranarea întregului bloc

 

Atât pe placa de bază în discuție cât și pe  plăcile celelalte, autorii au convenit să utilizeze atât pentru conexiunile de RF cât și pentru cele DC, pini-headeri tată de 2.54mm, THT, pentru a realiza legăturile electrice. Eu personal am montat mini-conectori RF de tip MMCX-mamă, pe toate plăcile unde s-au pretat, pentru a facilita interconectarea și a obține performanțe puțin mai bune, după cum reiese și din poza din Fig. 19, de mai jos Legăturile cu celelalte plăci de circuit imprimat / module s-au realizat cu cablu coaxial flexibil și moale de tip RG-174, echipat cu conectorii tată MMCX, acest lucru facilitând foarte mult operațiunile de regla și de testare.

Fig. 19  Placa de bază finalizată, cu detalii de interconectare

B.  Placa filtrelor trece-bandă:

 

După instalarea tuturor componentelor electronice din acest bloc se verifică tensiunile de polarizare corecte. Acestea se regăsesc în manualul de instrucțiuni de asamblare, detaliate și nu vor fi reluate în acest articol.

Particularități și aspecte ale realizării:

-       placa BPF este comandată de blocul comutator aparținând de placa DDS, o dată cu schimbarea benzilor de frecvență din DDS se comută și filtrele trece-bandă precum și cele LPF

-       o atenție sporită este trebuie acordată modului de înfășurare a bobinelor, dacă se optează pentru construcția manuala a inductanțelor [5], conform Fig. 20

 

Fig. 20  Modul de înfășurare al inductanțelor din BPF, © VU3CNS [5]

 

Dispunerea înfășurărilor pe galeți și distribuția spirelor este foarte importantă pentru obținerea performanțelor optime ale filtrelor. Am testat acest tip de înfășurare și pe BITX multiband și BITX-20M, varianta monoband, cu performanțe asemănătoare.

 

Fig. 21  Vedere finală cu asamblarea BPF, precum și interconectarea cu modulul de control

 

Fig. 22  Dispunerea componentelor pentru placa BPF

C.  Placa filtrelor de ieșire LPF:

 

După instalarea tuturor componentelor electronice din acest bloc se verifică tensiunile de polarizare corecte relee, pentru diode, etc.

În mod uzual nu sunt operațiuni precise de acord sau ajustare a filtrelor low-pass, dar dacă dispuneți de un nanoVNA, un VNA sau un analizor de spectru cu tracking generator, puteți optimiza filtrele low-pass pentru răspunsuri optime pe frecvențele centrale de interes din fiecare bandă.

Fig. 23  Dispunerea componentelor pentru placa LPF, vedere de ansamblu

 

Deși autorii au recomandat  pulberi de ferită de tip T50-x, T68-x etc., am ales să utilizez dimensiuni mai mici pentru puterile pe care le am eu în vedere să le obțin cu acest TRx, respectiv max. 20...25W.

-       pentru 160 – 12m, T50-2 (miez roșu)

-       pentru 10m – T50-6 (miez galben)

Toate inelele de ferită au fost bobinate cu CuEm 0.5mm diametru, fiecare inductanță a fost verificată și măsurată individual. Este necesară grijă mai mare la montarea diodelor de comutație a releelor din acest modul. Pentru obținerea capacităților non-standard figurate în schemă se poate recurge la montarea serie-paralel, până se obține (se măsoară) capacitatea totală echivalentă.

Fig. 24  Dispunerea componentelor pentru placa LPF, cu detalii

 

Preferabil capacitorii din blocul LPF să fie cu silver-mică, styroflex sau MLCC, cu toleranțe acceptabile de 5…10%.

 

D.  Placa generatorului DDS/VFO / scală digitală și sistem comutator BPF/LPF

 

Implementarea acestor module din blocul VFO/DDS/band switching s-a făcut pe mai multe etape. Am ecranat toate etajele între ele. Voi enumera cele mai importante măsuri și precauții luate pentru a obține rezultate și  o funcționare acceptabilă:

-       conectarea celor 2 module cu microcontroller, pentru partea de comunicare, se realizează cu cablu ecranat subțire, pentru a evita probleme de interferențe și întreruperea comunicării

-       se reglează R7 10kΩ pentru un contrast optim pe LCD-u 2 x 16CH

-       se testează encoderul pentru funcționarea optimă și răspunsul la rotații (20...24 detenții sunt suficiente)

-       pentru placa cu PIC1 nu există alte reglaje de realizat, în afară de cel de contrast LCD

-       această placă comandă un bloc de buffere de curent mai mare, realizate cu ULN2003 și perechi de tranzistori, pentru selecția releelor de pe blocul LPF și a diodelor și implicit filtrelor din blocul BPF

Fig. 25  Dispunerea componentelor pentru placa de comutare BPF/LPF © YO6PIR

Folosind aplicația din data-sheet, YO6PIR, Emil, a fabricat un PCB pentru placa de control pe care l-am preluat și eu. Toate rezistoarele din schema de mai sus sunt 220Ω iar toți tranzistorii sunt de tip BC547.

-       pentru schema de generator DDS, transformatorul bifilar T1 are 8 spire bifilar pe 1 x FT37-43, CuEm 0.25m

-       se decuplează corespunzător alimentarea VCXO-ului ed 125MHz folosit în schemă

-       execuția L1 și L2 din filtrul LPF al DDS-ului poate fi făcută pe inele de pulberi de tip T37-2

-       regulatorul U3 din aceeași schemă trebuie să fie de bună calitate, orice cădere de tensiune nejustificată sau riplu semnificativ poate duce la distrugerea AD9850/1 sau la comportament nepredictibil a DDS-ului

Fig. 26  Propunere de layout și realizare DDS board © YO6PIR

 

Aceste 3 subansamble din modulul VFO au fost realizate pe plăci placate cu cupru dublu sau simplu placat, cu etajele complet ecranate între ele. Trecerile către alte module s-au realizat, unde a fost posibil, cu capacitori ceramici de trecere.

Menționez ca parametri tehnici măsurați:

-       curent absorbit de placa RF DDS: 144mAdc @ 12Vdc

-       curent absorbit de placa de control DDS: 100mAdc @ 12Vdc

-       nivelul de drive din DDS: 240mVp-p

 

Fig. 27  Vederea progresului, pe transceiver © YO6TJJ

Fig. 28  Dispunerea componentelor, placa de control cu PIC1 © YO6PIR

E.   Placa modulului amplificator de radiofrecvență de putere - PA

 

Realizarea acestei plăci a fost făcută în stil “Manhattan” utilizând și pad-uri autoadezive de la KANGA Products UK, pad-uri pe care le-am mai folosit și cu alte ocazii în alte proiecte.

Implementarea întregului PA s-a realizat pe panoul dorsal, direct pe substratul de cupru, practicând orificii prin care să poată fi introduși și fixați de radiator tranzistorii finali de putere.

Fig. 29  Implementare intermediară pentru PA 20W, YO6TJJ

Detalii importante în raport cu schema originală prezentată de PY2OHH în 2015:

-       L1 = 4 spire CuEm 0.5mm diam., bifilar, pe 1 x FT37-43

-       L2 = 4 spire trifilar, CuEm 0.5mm, pe 1x FT37-43

-       L3 = 1+1 spire (cu priză) în PRI, 4 spire în SEC, CuEm 0.5mm diam. (acest transformator este modificat, comparativ cu recomandarea autorului), realizat pe 2 x BN43-2402, dispuse în linie, pentru a forma un binocular mai mare

-       L4 = 6 spire CuEm 0.6mm diam. pe 1 x FT50-43

-       R5 & R6 au fost incrementate la 100Ω pentru IRF510

-       cu adăugarea unui capacitor de compensare de 100pF, în paralel cu primarul transformatorului L3, câștigul în banda de 10m a crescut semnificativ la 11.5W, față de 6.5W în design-ul inițial (aici am testat cu peste 10 valori de capacitori, până am obținut puterea de ieșire optimă)

-       toți capacitorii din schema PA sunt de 10...100nF

-       inductanțele de primar pentru L3 sunt: 1-3=88µH / 1-2.=22µH / / 2-3.=22µH

Fig. 30  Implementare intermediară pentru PA 20W, YO6TJJ

 

Cel mai important aspect de la etajul final a fost fixarea lui pe radiator, pentru răcire.

Puteri de ieșire de radiofrecvență, în funcție de benzile de lucru:

Banda / frecvența de interes

Pout @ 50Ω dummy load

160m (1.9MHz):

24W

80m (3.69MHz):

26W

40m (7.09MHz):

23.6W

30m (10.1MHz):

19.3W

20m (14.175MHz):

20.8W

17m (18.13MHz):

21.4W

15m (21.28MHz):

18.7W

12m (24.95MHz):

15.3W

10m (28.35MHz):

11.5W

 

După cum se observă și din imagini, întreg transceiverul a fost construit din plăci de cupru simplu sau dublu placat, practicând găuri de trecere pentru diverse fire și treceri de conexiune. Apoi materialul a fost șlefuit și finisat, vopsit și protejat cu lac protector, unde a fost cazul.

Fig. 31  Implementare intermediară, carcasă, design © YO6TJJ

 

• reglare și testare•

 

Există câteva reglaje care trebuiesc realizate pe modulele echipamentului:

1)    se reglează trimmerul de 60pF montat în paralel cu transformatorul T1 din lanțul amplificator de F.I. de recepție, având grijă ca reglajul să nu se facă cu degradarea stabilității amplificatorului F.I.

2)    ajustrarea BFO USB/LSB se face în funcție de calcule și de alegerea F.I.

3)    circuitul de AGC are un reglaj preliminar (4V la pin 3 pentru LM324)

4)    AGC gain se setează în funcție de nevoi și experiența userului

5)    se ajustează trimmerul de 50kΩ din bucla de feeback a amplif. NE5534 pentru un semnal SSB curat

6)    pentru S-metru, există un trimmer de 5kΩ pentru setat instrumentul “pe zero” în timp ce trimmerul de 50kΩ este folosit pentru ajustarea nivelului la s-metru

7)    cu antena neconectată, se setează trimmerul de 50kΩ din circuitul s-metrului la minim apoi se ajustează trimerul de 5kΩ pentru punctul de “zero”. Ajustarea nivelului indicat de S-metru poate fi realizată ajustând 50kΩ în raport cu un semnal cunoscut folosind un una alt receptor / TRx sau cu un generator de semnal . Pentru S9 se ijectează 50µV .

 

 

• concluzii și perspective •

Există loc semnificativ de îmbunătățit pentru acest transceiver, a fost început timid și cu rețineri dar până la urmă a fost finalizat, nu am reușit să acopăr toate stadiile de reglaj și asamblare, precum și alte dificultăți întâmpinate dar văa stau la dispozitie pe email sau la telefon pentru întrebări. Nu am reușit să adun 100% din documentația colectată în toți acești ani pentru BITX multiband dar cel mai probabil articole depsre acest echipament vor apărea într-o publicație românească de profil recent apărută, pentru radiomatori.

vy 73 de YO6TJJ, va continua

 

Bibliografie:

[1] BITX Multiband, G6LBQ, Assembly Instruction Manual: https://vdocuments.mx/g6lbq-multiband-bitx-manual.html

[2] Spectrum Communications UK, sursa kit-urilor de inductanțe pentru construcția filtrelor BPF http://www.spectrumcomms.co.uk/Components.htm

[3] HAM Radio India, modulul DDS – proiectul complet descris, pe versiuni: https://www.hamradio.in/projects/dds-vfo

[4]  https://www.digikey.ro/en/articles/how-to-quickly-safely-switch-antenna-transducer-transmit-receive-modes

[5] Coil assembly https://amateurradiokits.in/wp-content/uploads/2021/09/Easy-Bitx-Coils1.pdf

Avîrvarei Andrei YO6TJJ

Articol aparut la 27-2-2024

5030

Inapoi la inceputul articolului

Comentarii (4)  

  • Postat de Dan - YO3GH (yo3gh) la 2024-02-28 19:55:39 (ora Romaniei)
  • Super , frumos articol … imi aduce aminte de prezentarea documentatiei echipei Lixco a faimosului A412. Pasiunea merge mai departe… YO3GH
    Multumim,
    Dan

  • Postat de Zaslo Doru Emil - YO2AMU (yo2amu) la 2024-03-03 22:13:50 (ora Romaniei)
  • Frumos articol,multe elemente utile unui constructor!Felicitari!

  • Postat de Adrian - YO3HJV (yo3hjv) la 2024-03-13 21:00:07 (ora Romaniei)
  • Felicitari, am facut si eu cateva uBitx-uri, versiuni mai noi si e o placere :-)
    Ce voiam sa intreb, la ce curent de repaus ai obtinut functionarea optima a tranzistorilor din etajul final? Mersi, 73 de yo3hjv

  • Postat de Avirvarei Andrei - YO6TJJ (yo6tjj) la 2024-04-09 04:54:11 (ora Romaniei)
  • @YO3HJV, salut Adrian, imi cer scuze pentrua cest raspuns tare intarziat. Primul etaj cu BC547 este la aprox. 45mAdc, al 2-lea etaj pre-amplificaor la 185mAdc/13.8Vdc si 50mAdc/brat pentru finali. 300-330mmAdc in total daca imi amintesc bine, am verificat si documentatia recent. Voi mai publica una rticol actualizat doar despre acest etaj final, nu am "finalizat-o" cu el sa zic asa. Este necesar un cablaj industrial pentru el si o versiune finala, mai bine documentata. 73 de yo6tjj

    Scrieti un mic comentariu la acest articol!  

    Opinia dumneavoastra va aparea dupa postare sub articolul "Transceiver 20W HF Multiband BITX 160-10m"
    Comentariul trebuie sa se refere la continutul articolului. Mesajele anonime, cele scrise sub falsa identitate, precum si cele care contin (fara a se limita la) atac la persoana, injurii, jigniri, expresii obscene vor fi sterse iar dupa caz se va ridica dreptul de a posta comentarii.
    Comentariu *
     
    Trebuie sa va autentificati pentru a putea adauga un comentariu.


    Opiniile exprimate în articole pe acest site aparţin autorilor şi nu reflectă neapărat punctul de vedere al redacţiei.

    Copyright © Radioamator.ro. Toate drepturile rezervate. All rights reserved
    Articole | Concursuri | Mica Publicitate | Forum YO | Pagini YO | Call Book | Diverse | Regulamentul portalului | Contact